
动力电池的端电压是指动力电池正负极之间的电位差,空载时动力电池的端电压称为开路电压。动力电池接上负载后处于放电状态的电压称为负载电压,也称为工作电压。电池充放电结束时的电压称为终止电压,分为充电终止电压和放电终止电压。以锰酸锂电池为例,电池在不同荷电状态(SC)下的充放电曲线如图1所示。从图1的放电曲线可知,

图1 锰酸锂电池在不同荷电状态(SOC)下的开路电压曲线
电池的电动势等于构成电池的两个电极的平衡电极电位之差。事实上,电池中的两个电极并不是处于热力学可逆状态。此时的电极电位是稳定电极电位而不是平衡电极电位。因此,电池的开路电压理论上不等于电池的电动势,但一般来说,可以认为电池的开路电压约等于其电动势。
2.电流

放电时电池输出的电流称为放电电流,充电时流过电池的电流称为充电电流。电池在放电或充电时所允许的最大电流值称为最大允许电流。
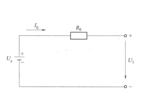
一般来说,电池的瞬时功率是指电池在一定状态下的端电压与流过电极的电流的乘积。假设初始时刻电池的SOC为x,则电池开路电压可写为U x,电池内阻为R 0,流入(或流出)电池的电流由外部电源控制的为I 0,电池端电压为U 1,内置电池为 电阻的简单模型如图2所示。

图2 电池内阻简单模型
根据上述内容和图2中的设置,电池SOC为x时的功率为:
P=U 1 I 0 =(U x -l 0 R)I 0
上式中的U x可以通过查询电池的SOC与开路电压的对应曲线得到(图1)。设电池以功率P继续放电的时间长度为t,设t时刻电池的SC为x',则电池的开路电压为U' x ,内阻为电池仍为R 0,则此时电流It仍满足上述公式。所示等式,即
P=U' 1 I t =(U' x -I t R 0 )l t
电池充放电电流的大小直接影响电池的各项指标。在表示动力电池的容量时,必须规定动力电池的充放电电流,通常用充放电倍率来表示。充放电倍率分为时间倍率和倍率。二、小时率是指用放电时间表示的放电率,即以一定的放电电流放出额定容量所需的时间单位为h。倍率是指动力电池在规定时间内将其额定容量放电时的输出功率。电流值在数值上等于额定容量的倍数。即
I=k·C n
式中:I——电池的充电或放电电流,A;
n——电池额定容量对应的标定放电时间,h;
C——蓄电池的额定容量,Ah;
k是比例系数。
上式中Cn所代表的含义是n小时充放电的电量,称为放电倍率。
3.电池容量

电池的容量是指充满电的电池在规定条件下放电至端电压达到终止电压时所输出的功率,单位为Ah。电池的容量包括三个不同的概念:理论容量、额定容量和实际容量
(1) 理论容量。假设电池中所有的活性物质都参与反应,根据法拉第定律所能放出的电量称为理论容量。理论容量是电池容量的最大极限值,电池在实际应用中释放的容量只是理论容量的一部分。
(2) 额定容量。额定容量也叫标称容量,是指电池在规定的条件下应放出额定容量的电池。
(三)实际容量。实际容量是指充满电的电池在一定条件下所能输出的功率,等于放电电流与放电时间的乘积。
电池的实际容量主要受放电方式的影响。放电方式包括放电率、放电形式(恒流、变流或脉冲)、终止电压和温度等因素。终止电压是指充放电结束时的电压。
4.电池的充电状态(SOC)

电池的荷电状态(SOC)通常用来描述电池剩余容量对额定容量和电池容量的影响机理。SOC 也可以表示为电池放电率、工作环境温度和电池老化的函数。
5.电池的放电深度(DOD)

放电深度(DOD)用来描述电池的放电功率与电池额定容量的比值
6.电池能量和能量密度

电池的能量是指电池在一定标准规定的放电系统下输出的电能,单位为瓦时(Wh)或千瓦时(kWh)。
电池的能量也分为标称能量和实际能量。标称能量是指电池的额定容量与其额定电压的乘积;实际能量是电池的实际容量与特定放电条件下的平均工作电压的乘积。
能量密度(又称比能量)通常作为衡量各种动力电池性能的重要指标。能量密度包括质量能量密度和体积能量密度。质量能量密度是指电池单位质量所能输出的电能,单位为瓦时每千克(Wh/kg);体积能量密度是指电池单位体积所能输出的电能,单位为瓦时每升(WhL)。由于电池的可用容量是电池放电率的函数,因此电池的质量能量密度和体积能量密度的定义也与电池的放电率有关。
7.电池功率和功率密度

电池的功率是指电池在一定放电状态下单位时间内输出的能量,单位为瓦特(W)或千瓦(kW)。为了测试电池的峰值功率,人们提出了多种近似计算方法,这些方法也被用于评估电池的功率特性。美国FreedomCAR项目提出了混合脉冲功率特性(HPPC)测试方法。该测试方法的目的是验证电池的峰值充放电功率是否满足Freedom CAR提出的目标。
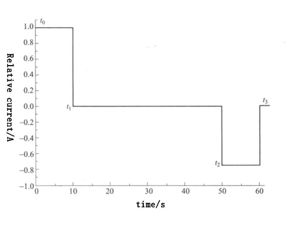
HPPC测试流程如表1所示,对应的脉冲电流曲线如图3所示。图3中t 0 -t 4为测试数据的采样点。测试以电池厂商提供的最大放电电流I max作为参考放电电流,脉冲充电电流为0.75I max,充电脉冲电流和放电脉冲电流的持续时间各为10s。脉冲间隔40s,通过计算ΔV/ΔI,得到放电阻抗R dch和充电阻抗R ch在脉冲开始后 10 秒获得。电池放电时电流方向为正,电池充电时电流方向为负。

图3 HPPC脉冲电流曲线
测试中的放电阻抗R dch和充电阻抗R ch
分别为R dch =△U dch /△I dch =(U t1 -U t0 )/-(I t1 -I t0 )=(U t1 -U t0 ) /(I t0 -I t1 )
R ch =△U ch /△I ch =(U t3 -U t2 )/-(I t3 -I t2 )=(U t3 -U t2 )/(I t2 -I t3 )
将以上两个公式计算出的充电阻抗和放电阻抗代入以下两个公式,得到电池的脉冲放电功率P dch和脉冲充电功率P ch 。
P dch =U min ·(U ocv -U min )/R dch
式中:U min——电池允许放电的最小电压,V;
U oxv —电池的开路电压,对应于电池的放电深度(DOD),可通过查询SOC—OCV曲线得到,V。 P ch
= U max ·(U max -U ocv )/R通道
式中:U max——电池充电最高电压,V。
为了测量电池在不同DOD下的脉冲放电功率和脉冲充电功率,可以采用图4所示的HPPC功率测试方法。

图4 HPPC功率测试方法
① 将充满电的电池以1C电流放电,调整电池DOD至目标值;
②静置1h后恢复电化学和热平衡状态
③ 对电池进行10s的脉冲充电和10s的脉冲放电;
④重复①~③的试验内容,每10%DXOD进行一次试验。最后得到电池的脉冲充放电功率与DOD的关系如图5所示。

图 5. 充放电功率与 DOD 的关系
8.质量功率密度和体积功率密度

质量功率密度是指单位质量的电池所能输出的功率,单位为W/kg。体积功率密度是指单位体积电池所能输出的功率,单位为W/L。质量功率密度是评价电池能否满足电动汽车加速和爬坡性能的重要指标。对于电化学电池,质量功率密度(比功率)与电池的放电深度 (D) 密切相关。因此,在表示电池的质量功率密度时,也表示电池的放电深度(DOD)。
9.电池的循环寿命(cyele life)

电池的循环寿命是指电池按照一定的测试标准,在电池容量下降到规定值(一般规定为额定值的80%)之前的充放电次数。循环总数。循环寿命是评价电池寿命性能的重要指标。
图6为电池在不同循环次数下以1C倍率充放电的电压曲线。在循环测试之前,电池需要以0.5C的速率充放电50次循环以建立稳定的SEI。膜。从充放电曲线的劣化分析,电池劣化的可能原因包括正极活性物质的劣化或可提取的锂离子的损失。

图 6. 1C 倍率下不同循环的充放电电压曲线
图7显示了电池在不同循环次数下的容量、安时效率和瓦时效率的变化。从图7可以看出,经过3500次循环后,电池剩余容量约为初始值的90%,说明该电池体系在常温下稳定性高,副反应小。

图7 不同循环下电池容量、安时效率和瓦时效率的变化
10.电池自放电率

电池的自放电率是指电池在储存过程中容量下降的速率,即电池在空载时因自放电而损失容量的速率。自放电率C用单位时间容量减少的百分比表示,即
C=[(C ini -C tin )/C ini ·100%]/t=(C ini -C tin )/(C初始值·t)·100%
式中:C ini——电池在储存初始时刻的容量,A h;
C tin——电池储存后的容量,A·h;
t——电池储存时间,天/月。
自放电率通常与时间和温度有关。环境温度越高,自放电现象越明显。因此,电池在长期存放过程中应定期检查其荷电状态,并在适宜的温度和湿度条件下存放。
11.电池的输出效率

电池实际上是一种能量储存。充电时将电能转化为化学能并储存起来,放电时将化学能转化为电能释放出来供用电设备使用。电池的输出效率通常用容量效率和能量效率来表示。电池的容量效率是指电池放电时的输出容量与充电时的输入容量之比,也称为安时效率。电池的能量效率是指电池放电时输出的能量与充电时输入的能量之比,也称为瓦时效率。如图7所示,A123磷酸铁锂电池的安时效率比较高(接近100%),瓦时效率也在95%左右,说明电池具有较高的输出效率。对于电动汽车来说,能效是比容量效率更重要的评价指标。
12.电池一致性

同类型、同规格、同型号的电池之间存在电压、内阻、容量等参数,也称为电池一致性。一组电池的寿命在很大程度上取决于它们的一致性。由于电动汽车的动力电池是成组使用的,因此一致性是评价电池组性能的关键指标之一。影响电池一致性的因素主要包括单体电池的设计和制造水平、电池组的温度场分布等。
13.抗滥用能力

电池的抗滥用能力是指电池抵抗短路、过充、过放、机械振动、冲击、挤压以及高温、火灾等非正常使用条件的能力。
14.动力电池结构

(1)单体动力电池:构成电池的最小单元,一般由正极、负极和电解液组成。
(2)动力电池模组:单体动力电池是由串联、并联构成的模组组合而成。
(3)动力电池组:由一个或多个动力电池模组组成。
(4) 电池管理系统:能够控制动力电池的输入输出功率,监测电池状态(温度、电压、荷电状态),并为电池提供通信接口的系统。
(5)电池辅助装置:电池支架、热管理系统等电池系统正常运行所需的部件。
(6)动力电池系统:所有动力电池组、电池管理系统和电池辅助装置的组合。
15.放电

(1)恒流放电:动力电池以受控恒流放电。
(2)倍率放电:动力电池在额定电流下的倍率值放电。
16.充电

(1)涓流充电:为补充自放电,使动力电池保持在近似充满电的状态,仅适用于部分电池。
2)均衡充电:电池管理系统采用的一种充电方式,保证动力电池组中所有单体电池的荷电状态一致。
(3)恒流充电:以受控恒流对动力电池进行充电的方法
(4)脉冲充电:用脉冲电流给动力电池充电的方法
17.相关现象

(1)内部短路:动力电池内部正负极之间发生微短路或短路的现象。
(2)放气:动力电池在充电过程中产生气体的现象。
(3)热失控:在电池充放电过程中,由于电池内部电流和温度的累积和相互增强作用,动力电池发生损坏。
(4)极性反接:动力电池正常的极性发生变化的现象。
(5)漏液:电解液泄漏到动力电池外部的现象。
(6)记忆效应:动力电池经过长时间的浅充/放电循环,深度放电时会出现明显的容量损失和放电电压下降。
(7)过充:动力电池在达到充满电状态后继续充电的现象,过充容易导致放气和热失控。
(8)过放电:动力电池端电压低于放电终止电压时继续放电的现象,过放电容易造成电极活性物质的损坏。
联系人:余工
手 机:198-5307-5821
邮 箱:batteryltd@sina.com